Shelly Plus Wall Dimmer

设备标识
- 设备名称: Shelly Plus Wall Dimmer
- 设备型号: SNDM-0013US
- 设备SSID: ShellyPlusWDUS-XXXXXX
简要说明
Shelly Plus Wall Dimmer(以下简称“设备”)可实现灯具的开关控制,并调节兼容调光灯具的亮度。该设备专为替换标准美国墙装开关而设计,接线简单。配备完整的 gen2 固件功能,为专业集成商提供高级选项,以定制面向终端用户的解决方案。设备可在本地 Wi-Fi 网络中独立运行,也可无缝集成至基于云的家庭自动化服务。
只要设备连接到 Wi-Fi 路由器并接入互联网,用户即可通过任何具备网络连接的设备远程访问、配置和监控该设备。
设备内置网页界面,支持本地监控、控制及参数配置。
功能特性
- 夜间模式
- 每周定时计划
- 自动开关定时器
主要应用场景
- 住宅
- 多住户单元(公寓、联排别墅、酒店等)
- 轻型商业场所(小型办公室、零售店、餐厅、加油站等)
- 政府/市政项目
- 大学/学院设施
集成支持
- Google Assistant
- Amazon Alexa
- Samsung SmartThings
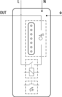
简化内部原理图

设备电气接口
输入端口
- 2 根火线:
- 黑色 L(火线)
- 白色 N(零线)
- 1 根绿色 ⏚(接地)线
输出端口
- 1 根红色 OUT 线(连接负载/灯具)
连接方式
- Wi-Fi(802.11 b/g/n)
- Bluetooth 4.2
支持的负载类型
- 白炽灯
- 仅支持调光的 LED 灯
- 仅支持调光的 CFL 灯
用户界面
输入操作
一个带 LED 指示的电源按钮:
- 轻按一次:开关灯。
- 长按 5 秒:激活设备热点(AP)。
- 长按 10 秒:恢复出厂设置。
一个带亮度 LED 指示的滑块:
- 向上滑动:增加亮度。
- 向下滑动:降低亮度。
输出指示
电源按钮 LED 指示:
蓝色 Wi-Fi LED*:
- AP 已启用,Wi-Fi 未启用:蓝灯闪烁(1 秒亮 / 1 秒灭)¹
- Wi-Fi 已启用,未连接:蓝灯慢速闪烁(1 秒亮 / 3 秒灭)²
- Wi-Fi 已连接,云服务禁用或已连接:持续亮起的蓝灯
- Wi-Fi 已连接,云服务启用但未连接:蓝灯极慢闪烁(1 秒亮 / 5 秒灭)³
- 按住电源键 5 秒:蓝灯快速闪烁(1/5 秒亮 / 1/2 秒灭)⁴
- 按住电源键 10 秒:蓝灯极快闪烁(1/5 秒亮 / 1/5 秒灭)⁵
- 正在进行 OTA 升级:蓝灯快速闪烁(1/5 秒亮 / 1/2 秒灭)⁴
白色电源 LED**(灯亮时点亮):
- AP 已启用,Wi-Fi 未启用:白灯闪烁(1 秒亮 / 1 秒灭)¹
- Wi-Fi 已启用,未连接:白灯慢速闪烁(1 秒亮 / 3 秒灭)²
- Wi-Fi 已连接,云服务禁用或已连接:持续亮起的白灯
- Wi-Fi 已连接,云服务启用但未连接:白灯极慢闪烁(1 秒亮 / 5 秒灭)³
- 按住电源键 5 秒:白灯快速闪烁(1/5 秒亮 / 1/2 秒灭)⁴
- 按住电源键 10 秒:白灯极快闪烁(1/5 秒亮 / 1/5 秒灭)⁵
- 正在进行 OTA 升级:白灯快速闪烁(1/5 秒亮 / 1/2 秒灭)⁴
亮度 LED 指示:
- 当灯关闭时,仅有一个白色小点亮起。
- 当灯开启时,一条垂直的白色点阵亮起:
- 每点亮一个点,表示亮度增加 14%(顶部点代表 84–100% 亮度)。
* 蓝色 Wi-Fi LED 可通过设置启用(默认)或禁用。
** 白色电源 LED 可由用户配置为:匹配输出(默认)、反向输出、始终常亮或始终熄灭。
关于指示灯闪烁模式说明:
¹ 1 秒亮 / 1 秒灭
² 1 秒亮 / 3 秒灭
³ 1 秒亮 / 5 秒灭
⁴ 1/5 秒亮 / 1/2 秒灭
⁵ 1/5 秒亮 / 1/5 秒灭
技术规格
| 类别 | 规格参数 |
|---|---|
| 物理特性 | |
| 不含面板与导线尺寸(高×宽×深) | 104 × 44 × 39 ±0.5 mm / 4.09 × 1.73 × 1.50 ±0.02 in |
| 含面板但不含导线尺寸(高×宽×深) | 120 × 70 × 39 ±0.5 mm / 4.72 × 2.76 × 1.50 ±0.02 in |
| 不含面板重量 | 105 g / 3.70 oz |
| 含面板重量 | 121 g / 4.28 oz |
| 外壳材质 | ABS |
| 颜色 | 白色 |
| 环境条件 | |
| 环境温度 | -20 °C 至 40 °C / -5 °F 至 105 °F |
| 湿度 | 30% 至 70% RH |
| 电气参数 | |
| 交流供电电压 | 100 – 120 V, 50/60 Hz |
| 直流供电电压 | 不适用 |
| 功耗 | < 3 W |
| 输出电路额定值 | |
| 120 VAC 下最大负载功率 | |
| 白炽灯 | 400 W |
| 仅支持调光的 LED/CFL | 150 W |
| 无线通信 | |
| 射频频段 | 2400 – 2495 MHz |
| 最大射频功率 | < 20 dBm |
| Wi-Fi 协议 | 802.11 b/g/n |
| Wi-Fi 传输范围 | 室内最高 30 米(100 英尺),室外最高 50 米(160 英尺)(受本地环境影响) |
| Bluetooth 协议 | 4.2 |
| Bluetooth 传输范围 | 室内最高 10 米(33 英尺),室外最高 30 米(100 英尺)(受本地环境影响) |
| 微控制器(MCU) | |
| CPU | ESP32 |
| Flash 存储容量 | 4 MB |
| 固件功能 | |
| Webhooks(URL 操作) | 20 个钩子,每个最多支持 5 个 URL |
| 脚本支持 | 是 |
| MQTT 支持 | 是 |
| CoAP 支持 | 否 |
接线图

故障排除
(内容待补充)
组件与 API
打印版用户手册
Shelly Plus Wall Dimmer 多语言打印版用户与安全指南.pdf
安装指南
×