
设备识别
- 设备名称: Shelly Plus PM Mini
- 设备型号: SNPM-001PCEU16
- 设备SSID: ShellyPMMini-XXXXXX
简要描述
Shelly Plus PM Mini(以下简称“该设备”)是一款小型化功率计量设备。其搭载了所有 gen2 固件的灵活性,为专业集成商提供了更多面向终端客户的应用解决方案选择。该设备可独立运行于本地 Wi-Fi 网络中,也可通过 MQTT、HTTP 及 WebSocket 协议接入云家庭自动化服务。所有入站连接均支持 TLS 加密。
用户可通过远程方式访问、配置和监控该设备;同时,只要与设备处于同一网络架构下,该设备也可与自动化系统进行通信和交互。
该设备内置网页界面,可用于监控和控制设备,并调整其各项设置。
⚠ 注意! 该设备不带内置继电器。
主要应用场景
- 住宅
- 多住户单元(如公寓、联排别墅、酒店等)
- 轻型商业场所(如小型办公建筑、小型零售店/餐厅/加油站等)
简化内部原理图

设备电气接口
输入端口
- 两个螺丝端子输入:1 个 L 和 1 个 N
输出端口
- 两个负载电路输出(内部桥接):2 个 O
连接方式
- Wi-Fi
- 蓝牙(用于配网)
每种连接方式均可由用户自行启用或禁用。
安全特性
- 内置温度感应与报告功能
支持的负载类型
- 阻性负载(白炽灯泡、加热设备)
- 容性负载(LED灯具驱动器、电容组、电子设备、电机启动电容)
- 感性负载(变压器、风扇、冰箱、空调)
用户界面
输入
- 一个(复位)按钮
- 长按 5 秒:启用设备热点及蓝牙连接
- 长按 10 秒:恢复出厂设置
输出
- 单色 LED 指示灯状态
- 启用 AP(热点),但未开启 Wi-Fi:1 秒亮 / 1 秒灭
- 已开启 Wi-Fi,但未连接到任何网络:1 秒亮 / 3 秒灭
- 已连接至 Wi-Fi 网络:持续亮起
- 云端已启用但未连接:1 秒亮 / 5 秒灭
- 已连接至 Shelly 云:持续亮起
- 正在进行空中升级(OTA):½ 秒亮 / ½ 秒灭
- 按住按钮 5 秒:½ 秒亮 / ½ 秒灭
- 按住按钮 10 秒:¼ 秒亮 / ¼ 秒灭
上述状态列表从设备初始状态开始,优先级最低。后续状态将覆盖前一状态。
规格参数
| 类别 | 参数值 |
|---|---|
| 物理特性 | |
| 尺寸(高×宽×深) | 29 × 35 × 16 ±0.5 毫米 / 1.11 × 1.35 × 0.63 ±0.02 英寸 |
| 重量 | 13 ±1 克 / 0.46 ±0.04 盎 |
| 安装方式 | 壁装盒安装 |
| 螺丝端子最大扭矩 | 0.4 牛·米 / 3.5 磅·英寸 |
| 导线截面积 | 0.5 至 1.5 毫米² / 20 至 16 AWG |
| 导线剥线长度 | 5 至 6 毫米 / 0.20 至 0.24 英寸 |
| 外壳材质 | 塑料 |
| 颜色 | 浅灰色 |
| 环境条件 | |
| 环境温度 | -20 °C 至 40 °C / -5 °F 至 105 °F |
| 湿度 | 30 % 至 70 % 相对湿度 |
| 最大海拔高度 | 2000 米 / 6562 英尺 |
| 电气参数 | |
| 电源输入 | 110 - 240 VAC |
| 外部保护 | 16 A,B 或 C 型脱扣特性,6 kA 分断能力,能量限制等级 3 |
| 功耗 | <1.2 瓦 |
| 输出电路额定值 | |
| 最大测量电压 | 240 VAC |
| 最大测量电流 | 16 A |
| 最大测量功率 | 3840 瓦 |
| 功率测量功能 | 支持 |
| 电压保护/切断 | 不支持 |
| 电流保护/切断 | 不支持 |
| 最大功率保护/切断 | 不支持 |
| 无线通信 | |
| 射频频段 | 2400 - 2495 MHz |
| 最大射频功率 | <20 dBm |
| Wi-Fi 协议 | 802.11 b/g/n |
| Wi-Fi 传输距离 | 室内最长 30 米 / 100 英尺,室外最长 50 米 / 160 英尺 (受当地环境影响) |
| 蓝牙协议 | 4.2 |
| 蓝牙传输距离 | 室内最长 10 米 / 33 英尺,室外最长 30 米 / 100 英尺 (受当地环境影响) |
| 微控制器 (MCU) | |
| CPU | ESP32 |
| 闪存容量 | 4 MB |
| 固件功能 | |
| Webhooks(URL 操作) | 支持最多 20 个,每个钩子最多可配置 5 个 URL |
| 脚本支持 | 支持 |
| MQTT | 支持 |
| UDP | 支持 |
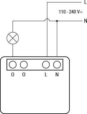
基础接线图

图例说明
| 端子标识 | 描述 | 导线标识 | 描述 |
|---|---|---|---|
| O | 负载电路输出端子(内部桥接) | L | 火线(110–240 伏) |
| L | 火线(110–240 伏)端子 | N | 零线 |
| N | 零线端子 |
故障排查
设备过热
请确保环境温度不超过 40 °C / 105 °F。若设备安装于密闭空间内,可能引起局部温度升高,超出允许范围。请确保设备周围有良好通风。
Web 界面使用指南
阅读 Shelly Plus PM Mini 的 Web 界面操作指南:
打印版用户手册
Shelly Plus PM Mini 多语言打印版用户与安全手册
合规声明
安装指南
目前暂无符合所选标签的安装指南内容。