
设备标识
- 设备名称: CT 120A
- 制造商型号: CT313
简要描述
CT 120A(本设备)是专为 Shelly Pro 3EM 能量表设计的分体式电流互感器。
特性
- 即插即用、无需螺丝安装系统
与 Shelly Pro 3EM 的连接
- 2针 MX3.0-2x1Y 连接器
安全特性
- 二次绕组高压保护
规格参数
| 类型 | 数值 |
|---|---|
| 物理特性 | |
| 尺寸(高×宽×深): | 45×40×36 ±0.5 毫米 / 1.77×1.57×1.42 ±0.02 英寸(不含电缆) |
| 重量: | 75 ±1 克 / 2.65 ±0.05 盎司(含电缆) |
| 导线穿孔直径: | Ø15 毫米 / Ø0.6 英寸 |
| 铁芯材料: | 铁氧体 |
| 外壳材质: | 塑料 |
| 颜色: | 白色 |
| 环境条件 | |
| 环境温度: | -10 °C 至 50 °C / 14 °F 至 122 °F |
| 湿度: | 0 % 至 80 % 相对湿度(RH) |
| 最大海拔高度: | 2000 米 / 6562 英尺 |
| 电气参数 | |
| 一次/二次电流比: | 3000:1 |
| 额定最大一次电流: | 120 A |
| 绝缘强度: | 3000 VAC,持续 60 秒 |
安装说明

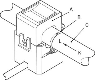
图例说明
| 标记 | 描述 |
|---|---|
| A | Shelly CT 120A |
| B | 电缆扎带(另一侧也有一根) |
| C | 一次导线 |
合规性
- 符合性声明